Fish farming tanks
Project Description
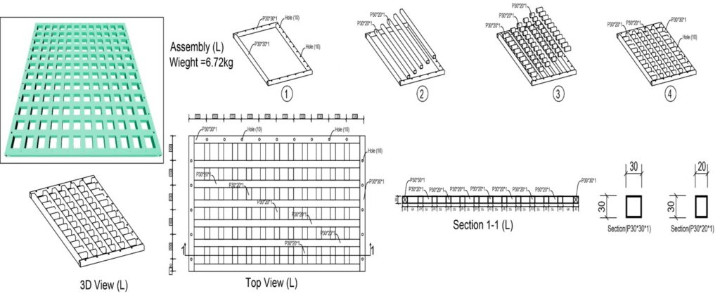
-The mineral aggregate that makes up the tanks is one of the best water-resistant as a result of the Presence of a bracing and truss element over the entire perimeter of the tank. The mental aggregate consists of a set of Easy-to-carry and install models that are Pre-equipped.
Key Topics:

